Elektrifikasyon çağında motosiklet tasarımı köklü bir dönüşüm geçiriyor. Bir asırdan fazla süredir içten yanmalı motor, motosikletin kalbi olarak performansı, karakteri ve hatta şasi mimarisini belirleyen temel unsur oldu. Ancak elektrik motorlarının kompakt yapısı, tasarım parametrelerini radikal biçimde esnetiyor.
Son ortaya çıkan bir patent, Kawasaki’nin bu yeni tasarım özgürlüğünden nasıl yararlanmayı planladığını gösteriyor: tek bir şasi üzerinde birden fazla elektrikli güç aktarma sistemi kullanılabilen modüler bir motosiklet platformu.

Elektrik Gücü Tasarım Paradigmasını Nasıl Değiştiriyor?
Geleneksel motosikletlerde motorun boyutu ve yerleşimi:
- Şasi ölçülerini
- Ağırlık dağılımını
- Dingil mesafesini
- Sele yüksekliğini
- Genel tasarım karakterini
doğrudan belirler.
Elektrik motorları ise çok daha küçük ve kompakt olduğu için, mühendisler artık motor hacmine göre şekillenen bir tasarım yerine, motoru tasarıma uyarlayabiliyor. İşte patentteki temel yenilik de burada yatıyor: motor artık sabit bir tasarım kısıtı değil, değiştirilebilir bir modül.
Otomobil Endüstrisindeki Modüler Mantık Motosiklete Taşınıyor
Otomotiv dünyasında tek bir model platformu üzerinde:
- Sıralı dört silindir
- V6
- V8
- Hibrit
- Tam elektrikli
gibi farklı motor seçenekleri sunmak uzun süredir mümkün.
Motosikletlerde ise kompakt yapı nedeniyle bu tür bir esneklik şimdiye kadar ciddi şekilde sınırlıydı. Ancak elektrik motorlarının küçük boyutları sayesinde Kawasaki, otomobillerdeki modüler platform stratejisini iki tekerlekli dünyaya taşımayı amaçlıyor.

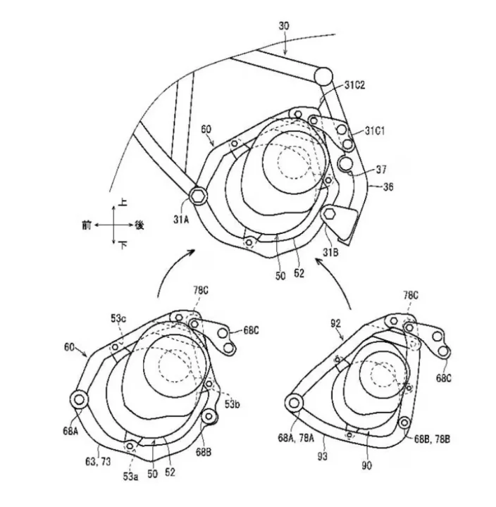
Patent Detayları: Modüler Şasi Nasıl Çalışıyor?
Patent görselleri, mevcut Kawasaki Z e-1 ve Kawasaki Ninja e-1 tasarımlarına oldukça benzeyen bir yapı ortaya koyuyor:
Temel Mimari
- Basit çelik kafes (trellis) şasi
- Raylar arasında konumlandırılmış çıkarılabilir batarya paketleri
- Salıncak kolunun hemen önüne yerleştirilmiş motor ve şanzıman ünitesi
- Kutu şeklinde batarya muhafazası
Ancak kritik fark burada ortaya çıkıyor:
Alt Şasi (Ara Bağlantı Parçası) Sistemi
Mevcut tasarımlarda motorun dökme alaşımlı gövdesi doğrudan ana şasiye cıvatalanırken, yeni patentte:
- Ana şasi üzerinde sabit motor bağlantı noktaları bulunuyor
- Motor ve şanzıman ünitesi arasında ara bir alt şasi yer alıyor
- Alt şasi, üst ve alt olmak üzere iki segmentten oluşuyor
- Bu segmentler kolayca değiştirilebiliyor
Patentte açıkça şu yaklaşım belirtiliyor:
Ana şaside büyük değişiklikler yapmadan, bağlantı parçasının şeklini değiştirerek farklı motor üniteleri monte edilebilir. Yani büyük ve maliyetli bir ana şasi yerine, daha küçük ve modifiye edilebilir bağlantı parçasında değişiklik yapılarak farklı güç üniteleri entegre edilebiliyor.

Maliyet, Ar-Ge ve Üretim Avantajları
Patent yalnızca teknik bir yenilik sunmuyor; aynı zamanda ciddi ticari avantajlara da işaret ediyor:
Parça Paylaşımı ve Ölçek Ekonomisi
Tek platform → daha fazla model → daha düşük birim maliyet.
Üretim Basitleştirme
Farklı modeller için ayrı şasi üretme ihtiyacı azalıyor.
Daha Düşük Ar-Ge Gideri
Yeni bir güç ünitesi geliştirmek için tüm şasiyi yeniden tasarlamak gerekmiyor.
Elektrikli Motosikletlerin Önündeki En Büyük Engel: Fiyat
Elektrikli motosikletler, performans ve menzil dikkate alındığında çoğu zaman içten yanmalı muadillerinden daha pahalı. Bu durum, geniş çaplı benimsenmenin önündeki en büyük engellerden biri. Eğer modüler platform yaklaşımı:
- Üretim maliyetlerini düşürür
- Geliştirme süresini kısaltır
- Model çeşitliliğini artırır
ise elektrikli motosikletlerin pazardaki konumu ciddi şekilde güçlenebilir.
Stratejik Önemi: Geleceğin Platformu mu?
Bu patent, basit bir mühendislik çözümünden fazlasını temsil ediyor:
- Elektrikli motosikletlerin ölçeklenebilir geleceği
- Farklı güç seviyelerinde modeller üretme esnekliği
- Giriş seviyesi ile performans segmentini aynı temel üzerinde birleştirme potansiyeli
Eğer Kawasaki bu sistemi seri üretime taşırsa, marka elektrikli segmentte platform stratejisini erken benimseyen üreticilerden biri olabilir. Kawasaki’nin modüler elektrikli motosiklet patenti, iki tekerlekli dünyada tasarım paradigmasının değiştiğini açıkça gösteriyor. Motor artık tasarımı belirleyen sabit bir “çekirdek” değil; değiştirilebilir bir modül. Bu yaklaşım:
- Maliyetleri düşürebilir
- Elektrikli motosikletleri daha erişilebilir hale getirebilir
- Ürün gamını genişletebilir
Elektrikli mobiliteye geçiş sürecinde bu tür mühendislik yenilikleri, sektörün kaderini belirleyecek kritik adımlar arasında yer alıyor.






